Liutaio

Consulting and Engineering Services

 

Home

Process Control

Instrumentation

Simulation

Functional Safety

Contact us

 

Examples

 

 

Examples

 

 

FS

Functional Safety

Functional Safety Services Example Documents

 

General EXAMPLE documents

List of Examples

Example refers to

HTML PDF

0418D10SD01 Rev.01 Abbreviations

1

Steam Turbine K-1122

SRS and “SIL verification”

HTML PDF

0418D10SD02 Rev.01 Glossary

2

Letdown Station

SRS and “SIL verification”

PDF

0418D18SD03 Rev.01 SIF General Design Background

3

FMEDA assessment do Actuator-Positioner-Valve arrangement

FMEDA assessment and “SIL Certification”

PDF

0418D20SD04 Rev.01 Safeguarding requirements

 

 

 

PDF

0418H03SD15 Rev.01 Reliability Data Validation

 

 

 

 

 

1

Steam Turbine K-1122

72-SIF-213 – Simplified diagram

 

 

 

 

 

 

SIF Short description:

Steam Turbine K-1122 high speed operation protection

PDF

0418D30SD05 Rev.02 Conceptual SRS - Steam Turbine

PDF

0418D30SD06 Rev.02 SIL verification - Steam Turbine (Detailed Report)

PDF

0418D30SD06-1 Rev.02 SIL verification - Steam Turbine (Short Report)

 

 

 

 

 

 

 

 

 

2

Letdown Station

60-SIF-500 – Simplified diagram

 

 

 

SIF Short description:

Gas Processing Plant inlet facilities protection against an overpressure operation scenario

NOTE:

This EXAMPLE is an interesting case where just one SRS “Key design statement” change in a SIF design statement, from Case No.1 to No.2, was enough to make the “SIL verification” assessment to DO NOT be the same one for both cases.

So, both “SIL verification” assessment RESULTs are different.

Case No.1

Key design statement:

Flow cut-off through one(1) pipe run is successful if at least just one(1) ESV or QSV is closed.

PFD

0418E20SD07 Rev.02 Conceptual SRS - Letdown Station

PFD

0418E30SD08 Rev.02 SIL verification assessment & report - Letdown Station (Detailed Report)

PFD

0418E30SD08-1 Rev.02 SIL verification report - Letdown Station (Short Report)

Case No.2

Key design statement:

Flow cut-off through one(1) pipe run is successful if both ESV and QSV valves are closed.

PFD

0418E30SD09 Rev.02 Conceptual SRS - Letdown Station

PFD

0418E30SD10 Rev.02 SIL verification assessment & report - Letdown Station (Detailed Report)

PFD

0418E30SD10-1 Rev.02 SIL verification report - Letdown Station (Short Report)

 

 

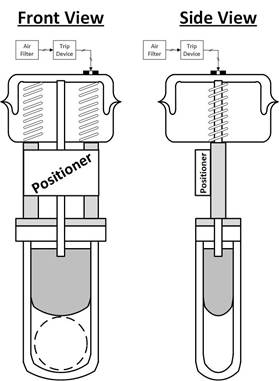
3

FMEDA assessment for Actuator-Positioner-Valve arrangement

Actuator-Positioner-Valve arrangement

A close up of a logo

Description generated with high confidence

 

 

 

Short description:

An Actuator-Positioner-Valve (APV) arrangement shall be used as the “Final Safety Element” (FSE) in a “Safety Instrumented Function” (SIF).

It is required to perform a FMEDA assessment to issue the APV arrangement “SIL Certificate”, to determine if this arrangement satisfies SIL-3 rating in hardware fault tolerance (HFT) 0 or 1 configuration.

PDF

0418G25SD11 Rev.01 FMEDA Background

PDF

0418G25SD12 Rev.01 FMEDA study report

PDF

0418G25SD13 Rev.01 FMEDA assessment & report

PFD

0418G25SD14 Rev.01 Actuator-Positioner-Valve Arrangement “SIL_Certificate